

近日,阿维塔品牌发布了新款阿维塔12的官方图片,同时该车型也出现在最新一期工信部产品公示名单中。此次更新的重点集中在智能驾驶辅助系统的优化升级,并提供多种动力布局选择,包括三电机四驱与后置双电机后驱系统。结合当前信息推测,新车上市后的起售价预计在30至32万元区间。
外观设计上,新款阿维塔12延续了现款车型的整体造型语言,保留品牌标志性的LED灯组结构,远近光灯集成于前包围两侧。较为显著的变化在于激光雷达位置调整为车顶布置,有望搭载华为最新一代高规格激光雷达,在探测精度与有效距离方面实现明显提升。
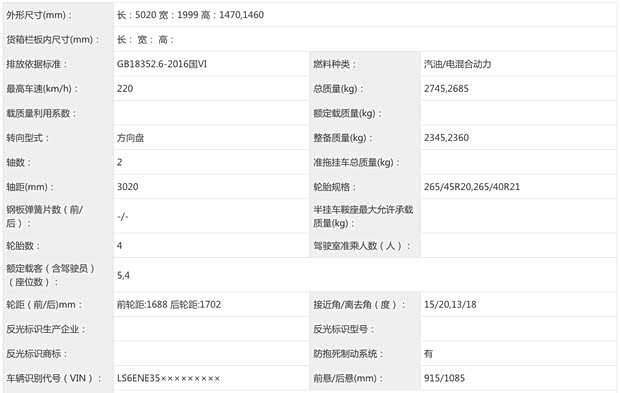
从车身侧面观察,新车依然采用大溜背式轮廓,线条流畅且富有动感。前翼子板区域配备两颗激光雷达,车门把手更新为半隐藏式结构,轮圈则提供20英寸和21英寸两种尺寸及多款样式供选择。具体车身参数方面,长宽高分别为5020毫米、1999毫米和1470毫米(部分版本高度为1460毫米),轴距保持在3020毫米。
尾部造型基本维持原有风格,继续采用封闭式后窗设计,并配备可电动调节的隐藏式后扰流板,兼顾空气动力学性能与视觉层次感。尾灯采用横向贯穿式单条灯带设计,点亮后具备较高的识别度。后包围区域通过内凹式牌照框与掀背式后备厢融合处理,整体风格偏向运动化,同时采用与车身不同色的装饰件搭配尾部扩散器组件,后者属于可选装的运动外观套件之一。
动力配置方面,申报资料显示新车将推出三种电驱组合。增程版车型搭载1.5升涡轮增压发动机作为增程器,最大输出功率115千瓦,驱动系统由后置双电机构成,单侧峰值功率均为200千瓦。纯电动版本则提供两种驱动形式:一种为后置双电机后驱布局,左右电机峰值功率各达251千瓦;另一种为四驱三电机结构,包含前置单电机与后轴双电机,前电机最大功率210千瓦,后双电机分别输出251千瓦。
此外,工信部信息还披露了增程版车型的部分电池与续航数据。型号为SC7150AABB6HEV的版本配备容量为52.01千瓦时的磷酸铁锂电池组,在WLTC工况下的纯电续航里程可达261公里。
本文属于原创文章,如若转载,请注明来源:阿维塔12官图发布,激光雷达上车顶,30万起售https://auto.zol.com.cn/1114/11147859.html

































































